剪链设计 Cell型橡胶护舷
当船舶靠泊码头时,大部分船舶首先在距船首或船尾1/3和1/4长度处与码头发生碰撞。橡胶护舷作为码头的抗冲击设备,既要承受垂直于码头岸壁的法向冲击力,又要承受平行于码头岸壁的切向力。在正常作业条件下,格子型橡胶护舷可以承受船舶的切向力。但是,当橡胶护舷的剪切变形超过规定要求时,剪切链必须防止橡胶护舷的剪切变形。因此,剪切链对保证鼓式护舷的正常运行和合理性能发挥着重要作用。
下面介绍鼓式橡胶护舷剪切链的设计方法。
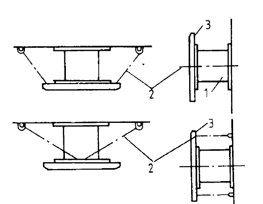
剪力链一般布置在橡胶护舷的两侧,一端固定在 抗冲击板上 ,另一端固定在码头墙上(图一)。剪切链一般采用普通链条,其规格和数量由橡胶护舷的规格、橡胶护舷的排列方式和防撞板的尺寸决定。

图一
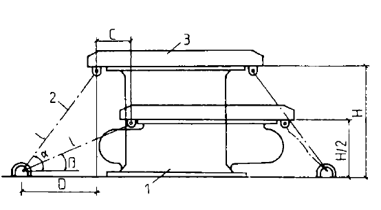
剪切链的设计原则是保证在最不利的靠泊条件下,格子橡胶护舷的剪切变形不超过规定的要求。假设鼓形橡胶护舷的设计变形率为50%,允许剪切变形为C。如图2所示
C:鼓式橡胶护舷的允许剪切变形;
D:卸荷条件下剪力链在橡胶护舷岸壁上的水平投影;
H:滚筒橡胶护舷高度。
单元式橡胶护舷剪切链应水平布置在橡胶护舷两侧
长度l根据公式计算。一端固定在抗冲击板上,另一端固定在预埋U型圈上